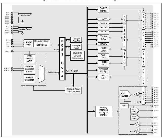
Product Summary
The C8051F005 is fully integrated mixed-signal System on a Chip MCUs with a true 12-bit multi-channel ADC (F000/01/02/05/06/07), or a true 10-bit multi-channel ADC (F010/11/12/15/16/17). See the Product Selection Guide in Table 1.1 for a quick reference of each MCUs’ feature set. Each has a programmable gain pre-amplifier, two 12-bit DACs, two voltage comparators (except for the F002/07/12/17, which have one), a voltage reference, and an 8051-compatible microcontroller core with 32kbytes of FLASH memory. There are also I2C/SMBus, UART, and SPI serial interfaces implemented in hardware (not “bit-banged” in user software) as well as a Programmable Counter/Timer Array (PCA) with five capture/compare modules. There are also 4 general-purpose 16-bit timers and 4 byte-wide general-purpose digital Port I/O. The C8051F000/01/02/10/11/12 have 256 bytes of RAM and execute up to 20MIPS, while the C8051F005-GQR has 2304 bytes of RAM and execute up to 25MIPS.
Parametrics
C8051F005 absolute maximum ratings: (1)Ambient temperature under bias: -55 to 125°C; (2)Storage Temperature: -65 to 150°C; (3)Voltage on any Pin (except VDD and Port I/O) with respect to DGND: -0.3V to (VDD + 0.3V); (4)Voltage on any Port I/O Pin or /RST with respect to DGND: -0.3V to 5.8V; (5)Voltage on VDD with respect to DGND: -0.3V to 4.2V; (6)Maximum Total current through VDD, AV+, DGND and AGND: 800mA; (7)Maximum output current sunk by any Port pin:100mA; (8)Maximum output current sunk by any other I/O pin: 25mA; (9)Maximum output current sourced by any Port pin: 100mA; (10)Maximum output current sourced by any other I/O pin: 25mA.
Features
C8051F005 features: (1)12-Bit (C8051F000/1/2, C8051F005/6/7); (2)10-bit (C8051F010/1/2, C8051F015/6/7); (3)±1LSB INL; (4)programmable throughput up to 100ksps; (5)up to 8 external inputs; programmable as single-ended or differential; (6)programmable amplifier gain: 16, 8, 4, 2, 1, 0.5; (7)data dependent windowed interrupt generator; (8)built-in temperature sensor (± 3° C); (9)two 12-bit DACs; (10)two analog comparators; (11)2.4V, 15 ppm/° C; (12)available on external pin; (13)precision VDD monitor/brown-out detector; (14)on-chip JTAG debug & boundry scan; (15)high speed 8051 μC core.
Diagrams

| Image | Part No | Mfg | Description | ![]() |
Pricing (USD) |
Quantity | ||||||||||||
|---|---|---|---|---|---|---|---|---|---|---|---|---|---|---|---|---|---|---|
![]() |
![]() C8051F005 |
![]() Silicon Labs |
![]() 8-bit Microcontrollers (MCU) 32KB 12ADC |
![]() Data Sheet |
![]() Negotiable |
|
||||||||||||
![]() |
![]() C8051F005DK |
![]() Silicon Labs |
![]() Development Boards & Kits - 8051 MCU DEVELOPMENT KIT W/ US POWER SUPPLY |
![]() Data Sheet |
![]()
|
|
||||||||||||
![]() |
![]() C8051F005DK-A |
![]() |
![]() DEV KIT FOR C8051F005/F006/F007 |
![]() Data Sheet |
![]() Negotiable |
|
||||||||||||
![]() |
![]() C8051F005DK-B |
![]() |
![]() DEV KIT FOR C8051F005/F006/F007 |
![]() Data Sheet |
![]() Negotiable |
|
||||||||||||
![]() |
![]() C8051F005DK-E |
![]() |
![]() DEV KIT FOR C8051F005/F006/F007 |
![]() Data Sheet |
![]() Negotiable |
|
||||||||||||
![]() |
![]() C8051F005DK-H |
![]() |
![]() DEV KIT FOR C8051F005/F006/F007 |
![]() Data Sheet |
![]() Negotiable |
|
||||||||||||
![]() |
![]() C8051F005-TB |
![]() Silicon Labs |
![]() Development Boards & Kits - 8051 With C8051F005 MCU |
![]() Data Sheet |
![]()
|
|
||||||||||||
![]() |
![]() C8051F005-GQ |
![]() Silicon Labs |
![]() 8-bit Microcontrollers (MCU) 32KB 12ADC |
![]() Data Sheet |
![]()
|
|
||||||||||||
(Hong Kong)











