Product Summary
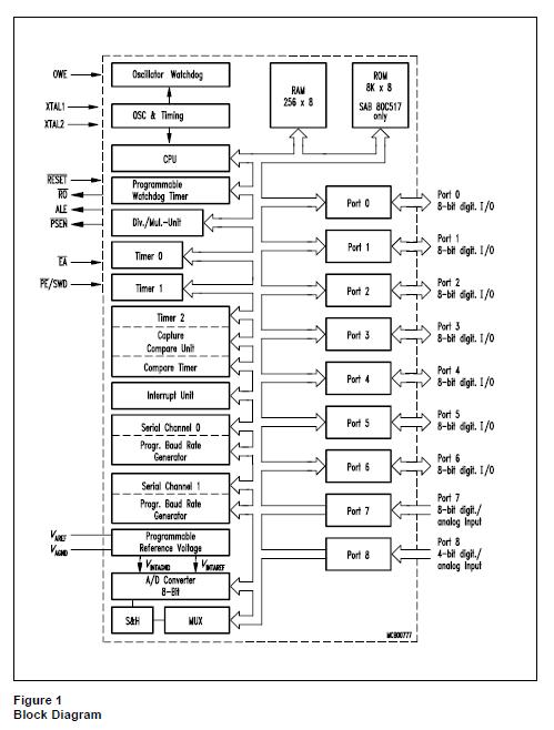
The SAB80C537 is a high-end member of the Siemens SAB 8051 family of microcontrollers. It is designed in Siemens ACMOS technology and based on the SAB 8051 architecture. ACMOS is a technology which combines high-speed and density characteristics with low-power consumption or dissipation. The SAB80C537 is identical with the SAB 80C517 except that it lacks the on-chip program memory. The SAB80C537 is supplied in a 84 pin plastic leaded chip carrier package (P-LCC-84) and in a 100-pin plastic quad metric flat package (P-MQFP-100-2).
Parametrics
SAB80C537 absolute maximum ratings: (1)Ambient temperature under bias: 0 to 70 ℃; (2)Storage temperature TST: – 65 to 150 ℃; (3)Voltage on VCC pins with respect to ground (VSS): – 0.5 V to 6.5 V; (4)Voltage on any pin with respect to ground (VSS): – 0.5 to VCC+0.5 V; (5)Input current on any pin during overload condition: – 10mA to +10mA; (6)Absolute sum of all input currents during overload condition: |100mA|; (7)Power dissipation: 2 W.
Features
SAB80C537 features: (1)Versions for 12 MHz and 16 MHz operating frequency; (2)Fast 32-bit division, 16-bit 2 multiplication, 32-bit normalize and shift by peripheraMUL/DIV unit (MDU); (3)8 K × 8 ROM (SAB 80C517 only) ; (4)256 × 8 on-chip RAM; (5)Eight data pointers for externamemory addressing; (6)Superset of SAB 80C51 architecture: 1 us instruction cycle time at 12 MHz; 750 ns instruction cycle time at 16 MHz; 256 directly addressable bits; Boolean processor; 64 Kbyte externadata and program; memory addressing; (7)Fourteen interrupt vectors, four priority levels selectable; (8)8-bit A/D converter with 12 multiplexed inputs and programmable ref. voltages; (9)Two fulduplex seriainterfaces; (10)Fully upward compatible with SAB 80C515; (11)Four 16-bit timer/counters ; (12)Extended power saving modes; (13)Powerfu16-bit compare/capture unit (CCU) with up to 21 high-speed or PWM output channels and 5 capture inputs; (14)Nine ports: 56 I/O lines, 12 input lines; (15)Two temperature ranges available: 0 to 70 ℃; – 40 to 85 ℃; (16)Versatile "fail-safe" provisions; (17)Plastic packages: P-LCC-84, P-MQFP-100-2.
Diagrams

| Image | Part No | Mfg | Description | ![]() |
Pricing (USD) |
Quantity | ||||
|---|---|---|---|---|---|---|---|---|---|---|
![]() |
![]() SAB80C537-16N |
![]() Other |
![]() |
![]() Data Sheet |
![]() Negotiable |
|
||||
![]() |
![]() SAB80C537-16-NT40/85 |
![]() Other |
![]() |
![]() Data Sheet |
![]() Negotiable |
|
||||
![]() |
![]() SAB80C537-N |
![]() |
![]() IC MIRCROCONTROLLER 8BIT 84PLCC |
![]() Data Sheet |
![]() Negotiable |
|
||||
(Hong Kong)









