Product Summary
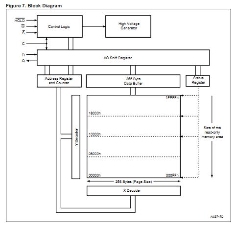
The M25P10-AVMN6TP is a 1 Mbit (128K x 8) Serial Flash Memory, with advanced write protection mechanisms, accessed by a high speed SPI-compatible bus. The memory can be programmed 1 to 256 bytes at a time, using the Page Program instruction. The M25P10-AVMN6TP is organized as 4 sectors, each containing 128 pages. Each page is 256 bytes wide. Thus, the whole memory can be viewed as consisting of 512 pages, or 131,072 bytes. The M25P10-AVMN6TP can be erased using the Bulk Erase instruction, or a sector at a time, using the Sector Erase instruction.
Parametrics
M25P10-AVMN6TP absolute maximum ratings: (1)TSTG, Storage Temperature: –65 to 150℃; (2)VIO, Input and Output Voltage (with respect to Ground): –0.6 to 4.0 V; (3)VCC, Supply Voltage: –0.6 to 4.0 V; (4)VESD, Electrostatic Discharge Voltage (Human Body model): –2000 to 2000 V.
Features
M25P10-AVMN6TP features: (1)1 Mbit of Flash Memory; (2)Page Program (up to 256 Bytes) in 1.4ms (typical); (3)Sector Erase (256 Kbit) in 0.8s (typical); (4)Bulk Erase (1 Mbit) in 2.5s (typical); (5)2.7 to 3.6V Single Supply Voltage; (6)SPI Bus Compatible Serial Interface; (7)50MHz Clock Rate (maximum); (8)Deep Power-down Mode 1μA (typical); (9)Electronic Signature (11h): JEDEC Standard two-Byte Signature ; (10)(2011h); RES Instruction, One-Byte, Signature (10h), for backward compatibility; (11)More than 100,000 Erase/Program Cycles per Sector; (12)More than 20 Years’ Data Retention.
Diagrams

| Image | Part No | Mfg | Description | ![]() |
Pricing (USD) |
Quantity | ||||||||||||
|---|---|---|---|---|---|---|---|---|---|---|---|---|---|---|---|---|---|---|
![]() |
![]() M25P10-AVMN6TP |
![]() STMicroelectronics |
![]() Flash SERIAL SECTOR ERASE FLASH 1MEG |
![]() Data Sheet |
![]() Negotiable |
|
||||||||||||
| Image | Part No | Mfg | Description | ![]() |
Pricing (USD) |
Quantity | ||||||||||||
![]() |
![]() M25P01K9FC |
![]() JAE Electronics |
![]() Automotive Connectors Pin Contact MX25 |
![]() Data Sheet |
![]()
|
|
||||||||||||
![]() |
![]() M25P05 |
![]() Other |
![]() |
![]() Data Sheet |
![]() Negotiable |
|
||||||||||||
![]() |
![]() M25P05-A |
![]() Other |
![]() |
![]() Data Sheet |
![]() Negotiable |
|
||||||||||||
![]() |
![]() M25P05-AVDW6TP |
![]() STMicroelectronics |
![]() Flash 512 KB Lo Vltg Serial Flash memory |
![]() Data Sheet |
![]() Negotiable |
|
||||||||||||
![]() |
![]() M25P05-AVMB6TP |
![]() |
![]() IC SRL FLASH 512KBIT 3V 8UFDFPN |
![]() Data Sheet |
![]() Negotiable |
|
||||||||||||
![]() |
![]() M25P05-AVMN6 |
![]() STMicroelectronics |
![]() Flash 3.0V 512K (64Kx8) |
![]() Data Sheet |
![]() Negotiable |
|
||||||||||||
(Hong Kong)










